Menu
×
Hello
Login or Register
Quick Links
Live Chat
Track Order
Parts Availability
RMA
Help Center
Contact Us
Shop for
Volkswagen Parts
Search Bar
Search by Part Number, Part Name, or Vehicle
My Garage
My Account
Cart
Volkswagen Parts
Contact Us
Help Center
Home
>
Volkswagen Jetta
>
2009
>
Rear Door - Lock & Hardware
Rear Door - Lock & Hardware fit your
2009 Volkswagen Jetta
Currently shopping for
2009 Volkswagen Jetta
Change Vehicle
Categories
Close X
Currently selected
Body & Hardware
Back Glass
Center Console
Center Pillar & Rocker, Hinge Pillar
Cluster & Switches, Instrument Panel
Cowl
Dash Panel Components
Ducts
Fender & Components
Front Bumper
Front Console, Rear Console
Front Door
Front Door - Glass & Hardware
Front Door - Lock & Hardware
Front Seat Components
Glove Box
Grille & Components
Hood & Components
Information Labels
Inner Structure - Quarter Panel
Jack & Components
Lift Gate
Lift Gate - Glass & Hardware
Lift Gate - Wiper & Washer Components
Luggage Carrier
Outside Mirrors
Pillars, Rocker & Floor - Floor & Rails
Quarter Panel & Components
Quarter Panel - Glass & Hardware
Radiator Support
Rear Body
Rear Body - Floor & Rails
Rear Bumper
Rear Door
Rear Door - Glass & Hardware
Rear Door - Lock & Hardware
Rear Seat Components
Roof & Components
Seat Belt
Sound System
Structural Components & Rails
Sunroof
Tracks & Components
Trunk
Trunk Lid
Uniside
Windshield - Wiper & Washer Components
Windshield Glass
Other Categories
A/C & Heating
Air & Fuel Delivery
Belts & Cooling
Brakes
Charging & Starting
Driveline & Axles
Electrical
Emission Control & Exhaust
Engine
Headlights & Lighting
Interior & Exterior Trim
Maintenance & Lubrication
Steering
Suspension
Transmission
Browse Categories
Categories
Close X
Currently selected
Body & Hardware
Back Glass
Center Console
Center Pillar & Rocker, Hinge Pillar
Cluster & Switches, Instrument Panel
Cowl
Dash Panel Components
Ducts
Fender & Components
Front Bumper
Front Console, Rear Console
Front Door
Front Door - Glass & Hardware
Front Door - Lock & Hardware
Front Seat Components
Glove Box
Grille & Components
Hood & Components
Information Labels
Inner Structure - Quarter Panel
Jack & Components
Lift Gate
Lift Gate - Glass & Hardware
Lift Gate - Wiper & Washer Components
Luggage Carrier
Outside Mirrors
Pillars, Rocker & Floor - Floor & Rails
Quarter Panel & Components
Quarter Panel - Glass & Hardware
Radiator Support
Rear Body
Rear Body - Floor & Rails
Rear Bumper
Rear Door
Rear Door - Glass & Hardware
Rear Door - Lock & Hardware
Rear Seat Components
Roof & Components
Seat Belt
Sound System
Structural Components & Rails
Sunroof
Tracks & Components
Trunk
Trunk Lid
Uniside
Windshield - Wiper & Washer Components
Windshield Glass
Other Categories
A/C & Heating
Air & Fuel Delivery
Belts & Cooling
Brakes
Charging & Starting
Driveline & Axles
Electrical
Emission Control & Exhaust
Engine
Headlights & Lighting
Interior & Exterior Trim
Maintenance & Lubrication
Steering
Suspension
Transmission
How to use OE catalog
2 diagrams found for the vehicle you selected.
Select your vehicle options to narrow down results.
1.
Rear Door - Lock & Hardware (Sedan From 1/05,Wagon,Wagon 2009 Only)
2.
Rear Door - Lock & Hardware (Sedan,Sedan From 1/05,Wagon 2009 Only)
Sort by:
Ref No.
Ref No.
Part No. & Part Description
Price & Qty.
Part No. &
Part Description
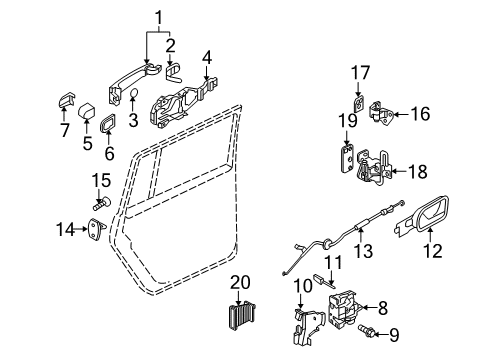
1
1K5-837-205-GRU
Handle, Outside
Part Notes: Sedan;Sedan From 1/05, Wagon 2009 Only, Sedan;Sedan From 1/05, Wagon 2009 Only, Wagon;Wagon
Location: Passenger Side;Driver Side
$89.71
$64.05
1
Add To Cart
2
1K5-837-209-9B9
Handle, Outside Packing
Part Notes: Sedan;Sedan From 1/05, Wagon 2009 Only, Sedan;Sedan From 1/05, Wagon 2009 Only, Wagon;Wagon
Location: Passenger Side;Driver Side
$41.78
$25.07
1
Add To Cart
3
7H0-820-898
Handle, Outside Seal
Part Notes: Sedan;Sedan From 1/05, Wagon 2009 Only, Sedan;Sedan From 1/05, Wagon 2009 Only, Wagon;Wagon
Location: Passenger Side;Driver Side
$5.21
$3.17
1
Add To Cart
4
1K0-837-885-A
Handle Plate
Part Notes: Sedan;Sedan From 1/05, Wagon 2009 Only, Sedan
Location: Driver Side
$116.65
$83.29
1
Add To Cart
4
1K0-837-886-A
Handle Plate
Part Notes: Sedan;Sedan From 1/05, Wagon 2009 Only, Sedan
Location: Passenger Side
$134.99
$96.38
1
Add To Cart
4
1Q0-837-885-B
Handle Plate
Part Notes: Sedan From 1/05, Wagon 2009 Only, Wagon;Wagon
Location: Driver Side
$130.10
$92.88
1
Add To Cart
4
1Q0-837-886-B
Handle Plate
Part Notes: Sedan From 1/05, Wagon 2009 Only, Wagon;Wagon
Location: Passenger Side
$164.99
$117.80
1
Add To Cart
5
1K5-839-167
Button
Part Notes: Sedan;Sedan From 1/05, Wagon 2009 Only, Sedan;Sedan From 1/05, Wagon 2009 Only, Wagon;Wagon
Location: Passenger Side;Driver Side
$29.38
$17.92
1
Add To Cart
6
1K0-837-211-9B9
Button Gasket
Part Notes: Sedan;Sedan From 1/05, Wagon 2009 Only, Sedan;Sedan From 1/05, Wagon 2009 Only, Wagon;Wagon
Location: Driver Side;Passenger Side
$5.44
$3.32
1
Add To Cart
7
1K5-839-879-GRU
Button Cover
Part Notes: Sedan;Sedan From 1/05, Wagon 2009 Only, Sedan;Sedan From 1/05, Wagon 2009 Only, Wagon;Wagon
Location: Passenger Side;Driver Side
$23.98
$14.63
1
Add To Cart
8
3B4-839-015-AP
Lock
Part Notes: Sedan;Sedan From 1/05, Wagon 2009 Only, Sedan;Sedan From 1/05, Wagon 2009 Only, Wagon;Wagon
Location: Driver Side
$274.99
$196.34
1
Add To Cart
8
3B4-839-016-AP
Lock
Part Notes: Sedan;Sedan From 1/05, Wagon 2009 Only, Sedan;Sedan From 1/05, Wagon 2009 Only, Wagon;Wagon
Location: Passenger Side
$232.32
$165.87
1
Add To Cart
9
WHT-000-439
Lock Screw
Part Notes: Sedan;Sedan From 1/05, Wagon 2009 Only, Sedan;Sedan From 1/05, Wagon 2009 Only, Wagon;Wagon
Location: Driver Side;Passenger Side
$4.86
$2.96
1
Add To Cart
10
1K0-839-349-C
Lock Cover
Part Notes: Sedan;Sedan From 1/05, Wagon 2009 Only, Sedan;Sedan From 1/05, Wagon 2009 Only, Wagon;Wagon
Location: Driver Side
$17.05
$10.41
1
Add To Cart
10
1K0-839-350-C
Lock Cover
Part Notes: Sedan;Sedan From 1/05, Wagon 2009 Only, Sedan;Sedan From 1/05, Wagon 2009 Only, Wagon;Wagon
Location: Passenger Side
$17.05
$10.41
1
Add To Cart
11
1Z9-839-059
Lock Cable
Part Notes: Sedan From 1/05, Wagon 2009 Only, Wagon;Wagon
Location: Driver Side
$3.28
$2.00
1
Add To Cart
11
1Z9-839-060
Lock Cable
Part Notes: Sedan From 1/05, Wagon 2009 Only, Wagon;Wagon
Location: Passenger Side
$13.18
$8.04
1
Add To Cart
11
3B9-839-059-A
Lock Cable
Part Notes: Sedan;Sedan From 1/05, Wagon 2009 Only, Sedan
Location: Driver Side
$21.58
$13.16
1
Add To Cart
11
3B9-839-060-A
Lock Cable
Part Notes: Sedan;Sedan From 1/05, Wagon 2009 Only, Sedan
Location: Passenger Side
$11.64
$7.10
1
Add To Cart
12
1K1-837-113-H-UTF
Handle, Inside
Part Notes: Sedan From 1/05, Wagon 2009 Only, Sedan, Black;Sedan From 1/05, Wagon 2009 Only, Wagon;Sedan, Black;Wagon
Location: Driver Side
$167.74
$119.76
1
Add To Cart
12
1K2-837-114-H-UTF
Handle, Inside
Part Notes: Sedan From 1/05, Wagon 2009 Only, Sedan, Black;Sedan From 1/05, Wagon 2009 Only, Wagon;Sedan, Black;Wagon
Location: Passenger Side
$226.65
$161.83
1
Add To Cart
13
1K5-839-085-C
Opener Cable
Part Notes: Sedan;Sedan From 1/05, Wagon 2009 Only, Sedan;Sedan From 1/05, Wagon 2009 Only, Wagon;Wagon
Location: Driver Side
$143.32
$102.33
1
Add To Cart
13
1K5-839-086-C
Opener Cable
Part Notes: Sedan;Sedan From 1/05, Wagon 2009 Only, Sedan;Sedan From 1/05, Wagon 2009 Only, Wagon;Wagon
Location: Passenger Side
$42.38
$25.43
1
Add To Cart
14
8Z0-837-033-A
Striker
Part Notes: Sedan From 1/05, Wagon 2009 Only, Sedan, From Vin 1k6793247;Sedan From 1/05, Wagon 2009 Only, Wagon;Sedan, From Vin 1k6793247;Wagon
Location: Passenger Side;Driver Side
$68.82
$49.55
1
Add To Cart
15
N-907-985-05
Striker Screw
Part Notes: Sedan From 1/05, Wagon 2009 Only, Sedan, From Vin 1k6793247;Sedan From 1/05, Wagon 2009 Only, Wagon;Sedan, From Vin 1k6793247;Wagon
Location: Driver Side;Passenger Side
$4.86
$2.96
1
Add To Cart
16
1K9-833-401-E
Upper Hinge
Part Notes: Sedan;Sedan From 1/05, Wagon 2009 Only, Sedan;Sedan From 1/05, Wagon 2009 Only, Wagon;Wagon
Location: Driver Side
$89.11
$63.63
1
Add To Cart
16
1K9-833-402-E
Upper Hinge
Part Notes: Sedan;Sedan From 1/05, Wagon 2009 Only, Sedan;Sedan From 1/05, Wagon 2009 Only, Wagon;Wagon
Location: Passenger Side
$65.05
$46.84
1
Add To Cart
17
1K0-831-281-B
Upper Hinge Backing Plate
Part Notes: Sedan;Sedan From 1/05, Wagon 2009 Only, Sedan;Sedan From 1/05, Wagon 2009 Only, Wagon;Wagon
Location: Driver Side
$12.71
$7.76
1
Add To Cart
17
1K0-831-282-B
Upper Hinge Backing Plate
Part Notes: Sedan;Sedan From 1/05, Wagon 2009 Only, Sedan;Sedan From 1/05, Wagon 2009 Only, Wagon;Wagon
Location: Passenger Side
$10.28
$6.27
1
Add To Cart
18
1K4-833-411-Q
Lower Hinge
Part Notes: Sedan;Sedan From 1/05, Wagon 2009 Only, Sedan;Sedan From 1/05, Wagon 2009 Only, Wagon;Wagon
Location: Driver Side
$171.72
$122.61
1
Add To Cart
18
1K4-833-412-Q
Lower Hinge
Part Notes: Sedan;Sedan From 1/05, Wagon 2009 Only, Sedan;Sedan From 1/05, Wagon 2009 Only, Wagon;Wagon
Location: Passenger Side
$179.99
$128.51
1
Add To Cart
19
1K0-831-287-B
Lower Hinge Backing Plate
Part Notes: Sedan;Sedan From 1/05, Wagon 2009 Only, Sedan;Sedan From 1/05, Wagon 2009 Only, Wagon;Wagon
Location: Driver Side
$13.83
$8.43
1
Add To Cart
19
1K0-831-288-B
Lower Hinge Backing Plate
Part Notes: Sedan;Sedan From 1/05, Wagon 2009 Only, Sedan;Sedan From 1/05, Wagon 2009 Only, Wagon;Wagon
Location: Passenger Side
$12.71
$7.76
1
Add To Cart
20
1K0-959-843-C
Boot
Part Notes: Sedan;Sedan From 1/05, Wagon 2009 Only, Sedan;Sedan From 1/05, Wagon 2009 Only, Wagon;Wagon
Location: Passenger Side;Driver Side
$62.99
$45.35
1
Add To Cart